本文屬于家用電器技術領域,涉及一種二合一電腦數碼年歷散熱風扇。
目前,國內在現有技術的散熱風扇市場中種類繁多,主要是在設計款式上的變化和散熱風扇性能上的改進,都存在沒有與散熱風扇本身功能上的改進。
本文的目的是提供一種能使電散熱風扇與萬年歷可同時使用的二合一電腦數碼年歷散熱風扇。

本文二合一電腦數碼年歷散熱風扇內容簡述:
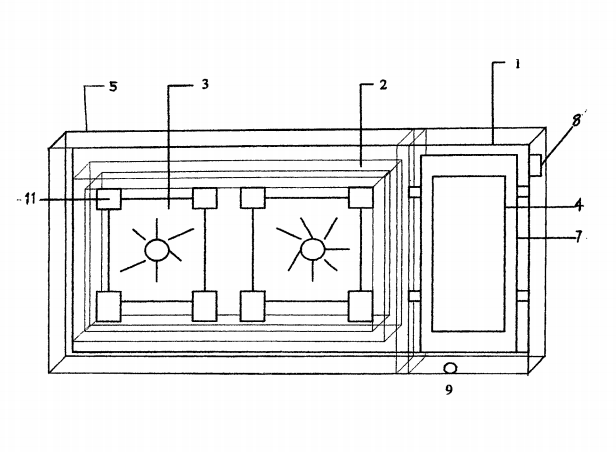
本實用二合一電腦數碼年歷散熱風扇,是由:主箱體、散熱風扇金屬框架、軸流風機、電路板、外部盒蓋、可調風葉、顯示屏、保險開關、溫度探頭構成,其特征在于:二合一電腦數碼年歷散熱風扇是一種壁掛式結構;散熱風扇金屬框架安裝在主箱體內,在散熱風扇金屬框架內裝有金屬冷熱片,調節溫度,兩個軸流風機通過固定夾固定在金屬框架上,電路板和顯示屏固定在主箱體的一側,電路板與軸流風機的電源線連接,外部盒蓋罩在主箱體上,可調風葉固定在外部盒蓋上,在主箱體的一側設置保險開關,在主箱體的底部設置溫度探頭;在主箱體的后面的掛勾架上設置墻壁掛勾,用于將二合一電腦數碼年歷散熱風扇掛在墻壁上。
本文二合一電腦數碼年歷散熱風扇,具有設計合理、結構簡單、造型美觀、節能、環保、造價低、使用費用小的特點,二合一電腦數碼年歷散熱風扇是-種壁掛式結構,電腦數碼年歷和風扇可同時使用,兩個軸流風機可單機或雙機運轉使用。
具體實施方式
本文二合一電腦數碼年歷散熱風扇是這樣實現的,下面結合附圖作具體說明。
見圖1、圖2,二合一電腦數碼年歷散熱風扇,是由:主箱體1、散熱風扇金屬框架2、軸流風機3、電路板4、外部盒蓋5、可調風葉6、顯示屏7、保險開關8、溫度探頭9、金屬冷熱片10、固定夾11、掛勾架12、墻壁掛勾13構成,二合- -電腦數碼年歷散熱風扇是一種壁掛式結構;散熱風扇金屬框架2安裝在主箱體1內,在散熱風扇金屬框架2內裝有金屬冷熱片10,用于調節溫度。兩個軸流風機3通過固定夾11固定在散熱風扇金屬框架2上,電路板4和顯示屏7固定在主箱體1的一側,電路板4與軸流風機3的電源線連接,外部盒蓋5罩在主箱體1上,可調風葉6固定在外部盒蓋5上,可調風葉6用于調節風向。在主箱體1的一側設置保險開關8,保護內部的電路板4和軸流風機3不易損傷。在主箱體1的底部設置溫度探頭9,用于測量室內溫度。在主箱體1的后面的掛勾架12上設置墻壁掛勾13,用于將二合一電腦數碼年歷散熱風扇掛在墻壁上。